1 ДВИГАТЕЛЬ ШКИВ solo by AL-KO райдер R 7-63.8 A Артикул: 127486
2 АККУМУЛЯТОР solo by AL-KO райдер R 7-63.8 A Артикул: 127486
3 КОЛЕСА, РУЛЕВОЕ УПРАВЛЕНИЕ solo by AL-KO райдер R 7-63.8 A Артикул: 127486
4 КОРОБКА ПЕРЕДАЧ, КОЛЕСА solo by AL-KO райдер R 7-63.8 A Артикул: 127486
5 СИДЕНЬЕ solo by AL-KO райдер R 7-63.8 A Артикул: 127486
6 РУЛЬ solo by AL-KO райдер R 7-63.8 A Артикул: 127486
7 РАМА solo by AL-KO райдер R 7-63.8 A Артикул: 127486
8 РЕМЕНЬ ШКИВ solo by AL-KO райдер R 7-63.8 A Артикул: 127486
9 РЕМЕНЬ ШКИВ solo by AL-KO райдер R 7-63.8 A Артикул: 127486
10 РЫЧАГ solo by AL-KO райдер R 7-63.8 A Артикул: 127486
11 РЫЧАГ solo by AL-KO райдер R 7-63.8 A Артикул: 127486
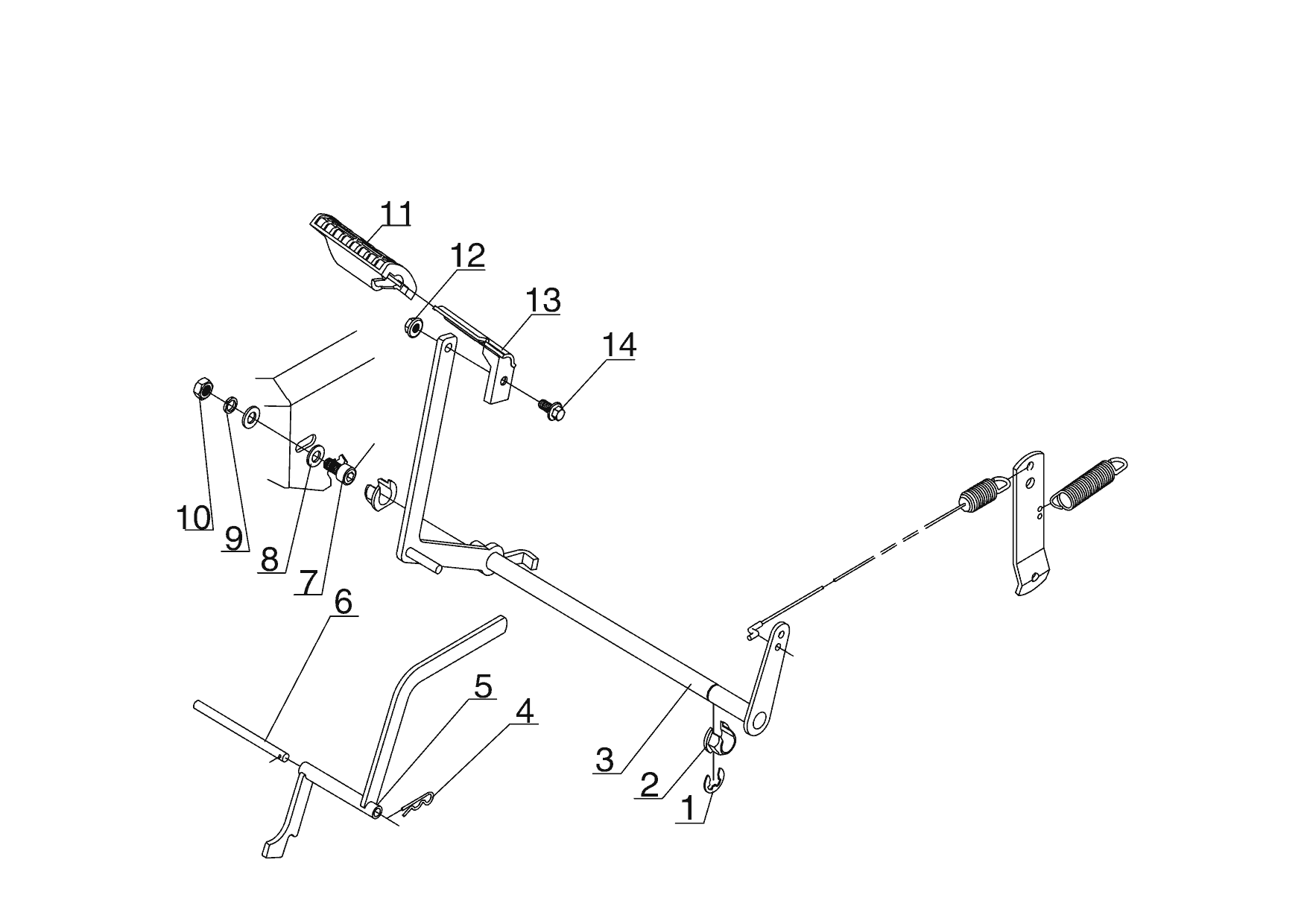
12 ПЕДАЛЬ solo by AL-KO райдер R 7-63.8 A Артикул: 127486
13 РЫЧАГ ПОДЪЕМА solo by AL-KO райдер R 7-63.8 A Артикул: 127486
14 ДЕКА, НОЖ, АДАПТЕР, ШКИВ solo by AL-KO райдер R 7-63.8 A Артикул: 127486
15 КОЖУХА solo by AL-KO райдер R 7-63.8 A Артикул: 127486
16 ЗАЩИТА solo by AL-KO райдер R 7-63.8 A Артикул: 127486
17 ТРАВОСБОРНИК solo by AL-KO райдер R 7-63.8 A Артикул: 127486