 |
Artikelnummer |
Artikelnummer |
|
Name
Используется в агрегатах
|
Недоступен к заказу |
|
 |
419 |
419 |
|
419
Используется в агрегатах
|
Недоступен к заказу |
|
 |
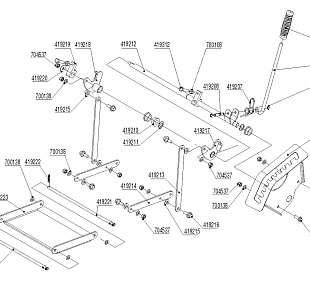
419204 |
419204 |
|
GRIFF
Используется в агрегатах
|
2518 i |
|
 |
419205 |
419205 |
|
EINSTELLHEBEL
Используется в агрегатах
|
7356 i |
|
 |
419206 |
419206 |
|
RASTER
Используется в агрегатах
|
17170 i |
|
 |
419207 |
419207 |
|
EINSTELLFEDER
Используется в агрегатах
|
1601 i |
|
 |
419208 |
419208 |
|
EINSTELLACHSE
Используется в агрегатах
|
1895 i |
|
 |
419209 |
419209 |
|
C-CLIP SICHERUNGSRING 6
Используется в агрегатах
|
1131 i |
|
 |
419210 |
419210 |
|
H?LSE
Используется в агрегатах
|
1334 i |
|
 |
419211 |
419211 |
|
C-CLIP SICHERUNGSRING 12
Используется в агрегатах
|
1224 i |
|
 |
419212 |
419212 |
|
EINSTELLHAUPTACHSE
Используется в агрегатах
|
26422 i |
|
 |
419213 |
419213 |
|
DR?CKHEBEL
Используется в агрегатах
|
4300 i |
|
 |
419214 |
419214 |
|
STELLHEBEL HINTEN
Используется в агрегатах
|
3655 i |
|
 |
419215 |
419215 |
|
NYLON SCHEIBE
Используется в агрегатах
|
1402 i |
|
 |
419216 |
419216 |
|
SECHSKANTSCHRAUBE M8
Используется в агрегатах
|
2465 i |
|
 |
419217 |
419217 |
|
DR?CKHEBELAUFSATZ LINKS
Используется в агрегатах
|
9184 i |
|
 |
419218 |
419218 |
|
DR?CKHEBELAUFSATZ RECHTS
Используется в агрегатах
|
9184 i |
|
 |
419219 |
419219 |
|
BLOCKER
Используется в агрегатах
|
13469 i |
|
 |
419220 |
419220 |
|
SCHEIBE BREIT 8
Используется в агрегатах
|
1202 i |
|
 |
419221 |
419221 |
|
ACHSE B
Используется в агрегатах
|
1915 i |
|
 |
419222 |
419222 |
|
SICHERUNGSHEBEL
Используется в агрегатах
|
1355 i |
|
 |
419223 |
419223 |
|
STELLHEBEL VORNE
Используется в агрегатах
|
24283 i |
|
 |
419224 |
419224 |
|
ACHSE A
Используется в агрегатах
|
2407 i |
|
 |
419311 |
419311 |
|
SECHSKANTSCHRAUBE M8X20
Используется в агрегатах
|
1334 i |
|
 |
419312 |
419312 |
|
SECHSKANTSCHRAUBE M8X35
Используется в агрегатах
|
1313 i |
|
 |
700108 |
704533 |
|
Гайка M8
Используется в агрегатах
|
1138 i |
|
 |
700138 |
704538 |
|
Шайба
Используется в агрегатах
|
1138 i |
|
 |
704537 |
704537 |
|
Гайка
Используется в агрегатах
|
989 i |
|